

.jpg)
| 序號 | 名稱 | 材質 |
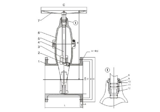
| 1 | 閥體 | 球墨鑄鐵 |
| 2 | 閥瓣 | 球墨鑄鐵+橡膠 |
| 3 | 閥桿螺母 | 黃銅 |
| 4 | 閥桿 | 不銹鋼 |
| 5 | 中頭墊圈 | 三元乙丙橡膠 |
| 6 | 閥蓋 | 球墨鑄鐵 |
| 7 | 手輪 | 球墨鑄鐵 |
| 8 | 防塵圈 | 三元乙丙橡膠 |
| 9 | 鎖緊螺母 | 黃銅 |
| 10 | 密封圈 | 四氟 |
| 11 | O型圈 | 三元乙丙橡膠 |
| 12 | 定位環(huán) | 黃銅 |
| DN | L | D | K | G | A | B | C | N-Φd | |||||
| PN10 | PN16 | PN10 | PN16 | PN10 | PN16 | PN10 | PN16 | H | |||||
| 40 | 140 | 150 | 150 | 110 | 110 | 88 | 88 | 3 | 19 | 180 | 4-Φ19 | 4-Φ19 | 240 |
| 50 | 150 | 165 | 165 | 125 | 125 | 102 | 102 | 3 | 19 | 180 | 4-Φ19 | 4-Φ19 | 250 |
| 65 | 170 | 185 | 185 | 145 | 145 | 122 | 122 | 3 | 19 | 180 | 4-Φ19 | 4-Φ19 | 280 |
| 80 | 180 | 200 | 200 | 160 | 160 | 138 | 138 | 3 | 19 | 200 | 8-Φ19 | 8-Φ19 | 330 |
| 100 | 190 | 220 | 220 | 180 | 180 | 158 | 158 | 3 | 19 | 250 | 8-Φ19 | 8-Φ19 | 361 |
| 125 | 200 | 250 | 250 | 210 | 210 | 188 | 188 | 3 | 19 | 250 | 8-Φ19 | 8-Φ19 | 415 |
| 150 | 210 | 285 | 285 | 240 | 240 | 212 | 212 | 3 | 19 | 280 | 8-Φ19 | 8-Φ19 | 460 |
| 200 | 230 | 340 | 340 | 295 | 295 | 268 | 268 | 3 | 20 | 280 | 8-Φ23 | 12-Φ23 | 572 |
| 250 | 250 | 395 | 405 | 335 | 355 | 320 | 320 | 3 | 22 | 320 | 12-Φ23 | 12-Φ28 | 658 |
| 300 | 270 | 445 | 460 | 410 | 410 | 378 | 378 | 4 | 25 | 350 | 12-Φ23 | 12-Φ28 | 758 |
| 350 | 290 | 505 | 520 | 470 | 470 | 438 | 438 | 4 | 27 | 450 | 16-Φ23 | 16-Φ28 | 800 |
| 400 | 310 | 565 | 580 | 515 | 525 | 490 | 490 | 4 | 28 | 550 | 16-Φ27 | 16-Φ31 | 900 |
| 500 | 350 | 670 | 715 | 620 | 650 | 595 | 610 | 4 | 32 | 650 | 20-Φ27 | 20-Φ34 | 1100 |
| 600 | 390 | 780 | 840 | 725 | 770 | 690 | 727 | 4 | 36 | 660 | 20-Φ31 | 20-Φ37 | 1240 |